Arcan ®   14-May-2020 16:47

Samyung SES-5000 Echo Sounder User Manual


Year: 2015
Language: english
Author: Samyung ENC
Publisher: Samyung ENC
Format: PDF
Quality: eBook
Pages count: 68
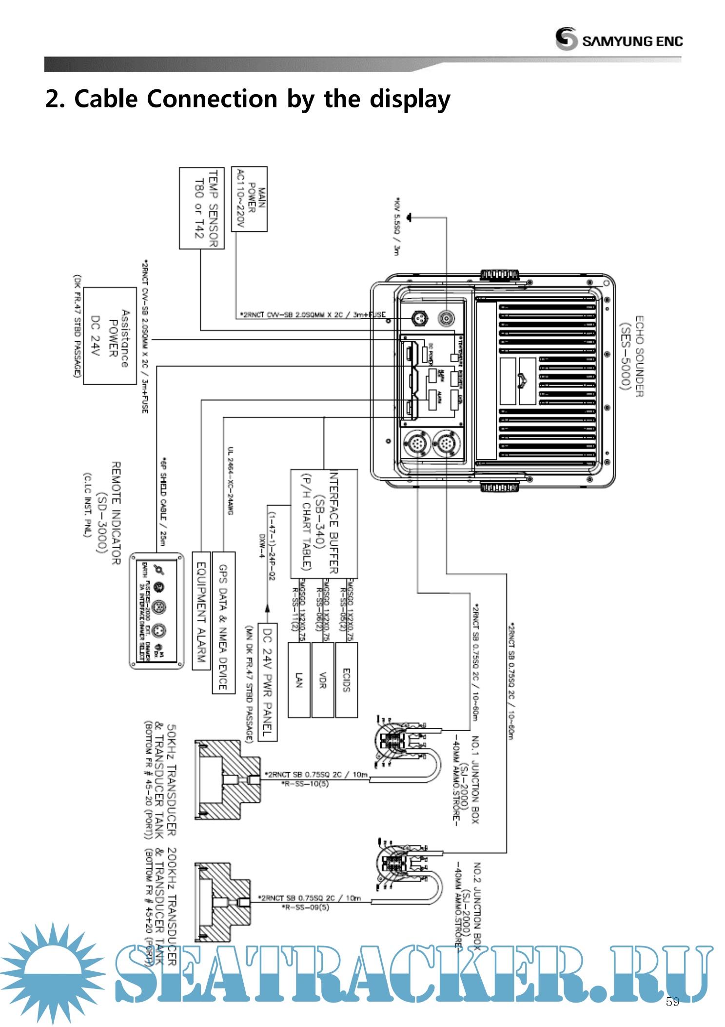
Description: TX frequency and output
 Frequency : Select two among 50/200KHz
 TX output : 1 KW ~ 1.5KW , Transmit by turns
 Power reduction : Auto/ 1~10
 TX pulse length : Short1 , Short2 , Standard , Long
0.05~5.0 msec when operation manually
 Frequency tuning : 5~10% of each TX frequency
 Amplifier : High dynamic range
 Rolling : +/- 10˚
 Pitching : +/- 5˚
 Ship Speed : 0 ~ 30 Knots
 Souding rate (Pulse Per Minute) : 40 ~ 705 ppm (shallow range)
40 ~ 42 ppm (deep range)
Specification
 LCD : 10.4inch
 Resolution : 600 x 800
 Brightness : 500 cd/㎡
 Power supply : Main 100~230 VAC , 50/60Hz ±5%
Sub 22 ~ 30 VDC
 dimension : 320mm X 347mm X 133mm
(Width X Length X Height)
Operation environment
 Temperature : Main equipment = -15℃~+55℃
 Humidity : Less than 93% (+30℃~+60℃)

Contents

Screenshots

Samyung SES-5000 Echo Sounder User Manual

Download [5 KB]

Thank U
Reply
refresh list

Similar releases

Samyung SES-2000 Echo Sounder User Manual - Samyung ENC [2016, PDF]
Furuno Navigational Echo Sounder FE-700 - Furuno [2000, PDF]
SAM 4682/4683 - 2 Axis Doppler Log - Sam Electronics [2007, PDF]
Digital Temperature Micro-controller X Model: PXZ - Fuji Electric/ Instruction and Operation…
JRC Echo Sounder Instruction Manual JFE-380 - JRC [2012, PDF]
JRC Echo Sounder Instruction Manual JFE-680 - JRC [2012, PDF]
Furuno Echo Sounder FE-800 - Furuno [2014, PDF]
Samyung SAR-16 AIS SART User Manual - Samyung ENC [2013, PDF]
Furuno Operator's manual navigational Echo Sounder Model FE-800 - Furuno [2014, PDF]
Samyung SDF-310 Standalone Digital Fishfinder User Manual - Samyung ENC [2014, PDF]
LOAD MORE
  • Reply

The time now is: Today 07:50

All times are GMT + 3 Hours