Vitbar192 ®   27-Jan-2025 11:01

Теоретические чертежи морских судов


Год выпуска: 2022
Язык: Русский
Автор: Москаленко М.А.
Жанр: Учебное пособие
Издательство: МГУ им. адм. Г.И. Невельского
Формат: PDF
Качество: Изначально компьютерное (eBook)
Количество страниц: 39
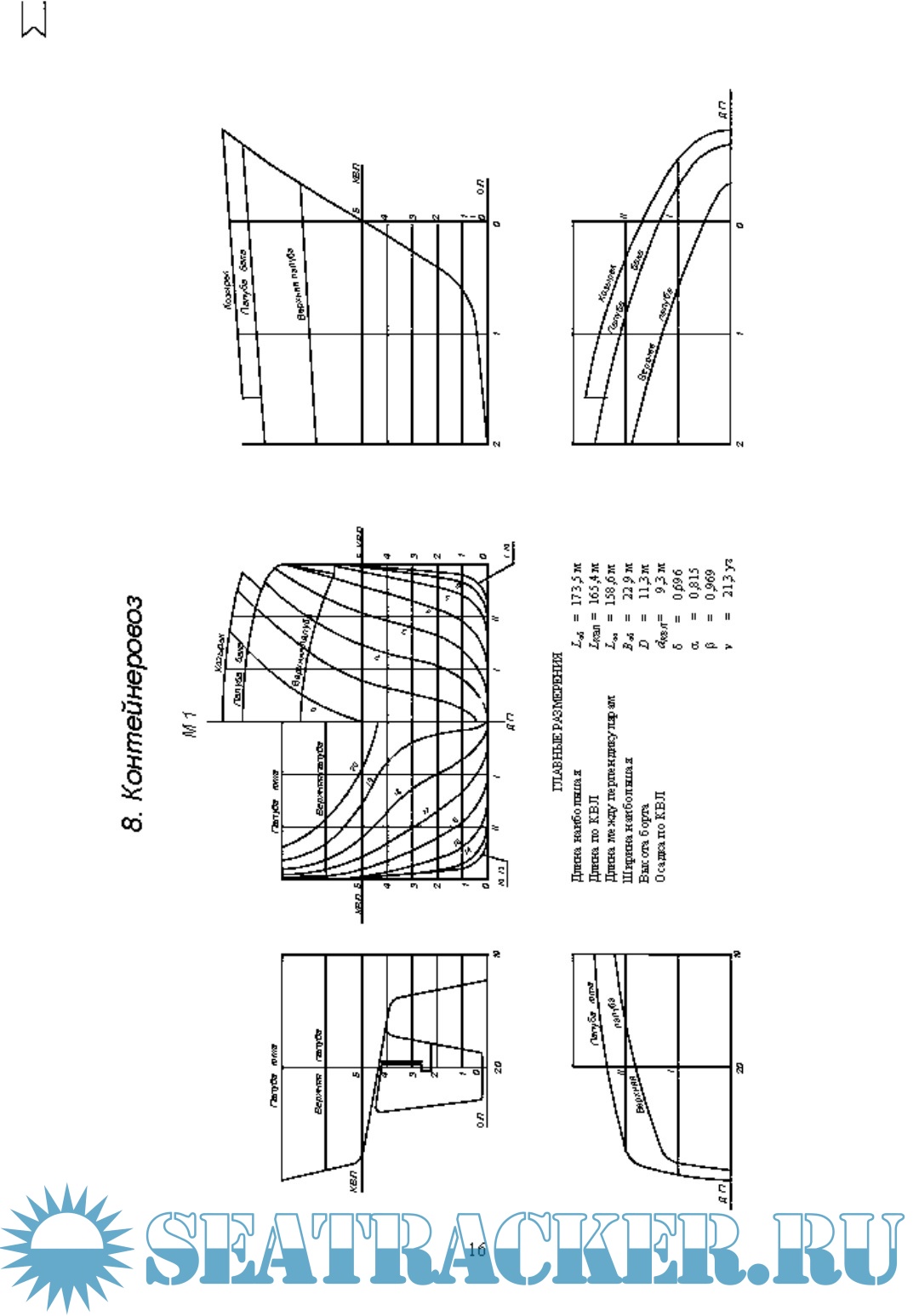
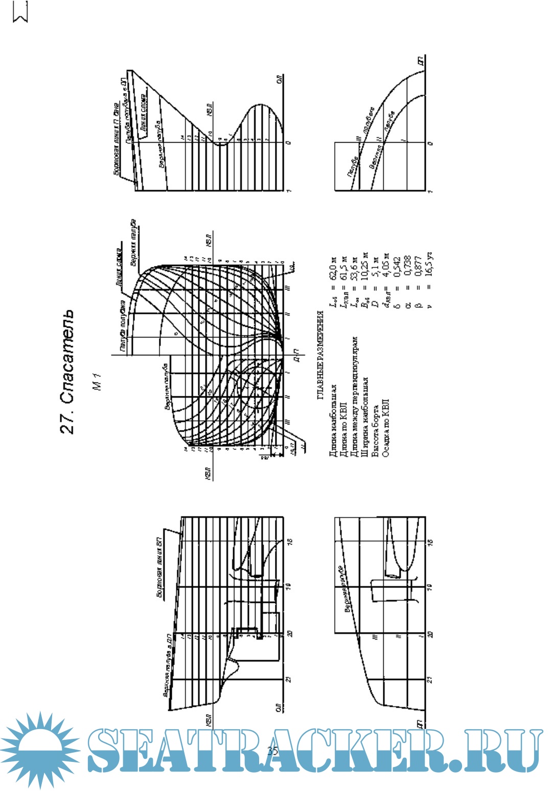
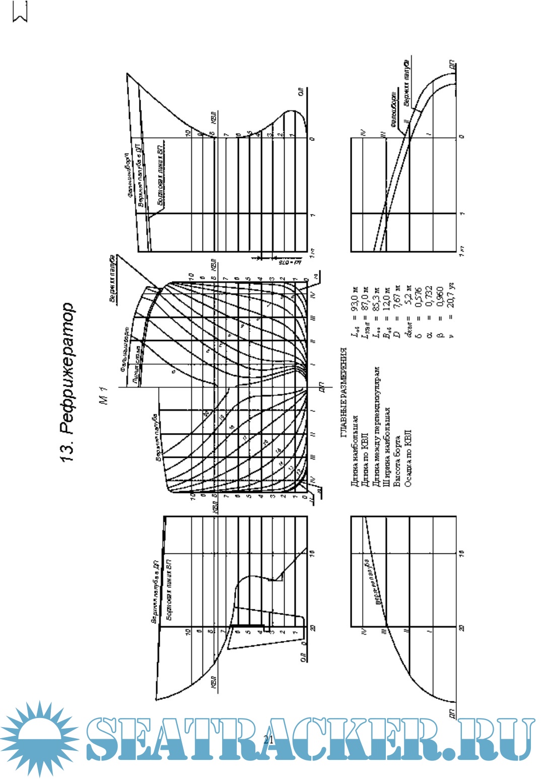
Описание: Содержит указания к выполнению и оформлению теоретического чертежа. Приведены 30 вариантов заданий, содержащих исходные данные по реальным современным судам различных типов. Предназначено для курсантов и студентов вузов, обучающихся по направлению подготовки «Кораблестроение, океанотехника и системотехника объектов морской инфраструктуры» всех профилей обучения

Содержание

Скриншоты

Москаленко М.А. Теоретические чертежи морских судов, 2022.pdf

Download [746 B]

Thank U
Reply
Poluhohol   04-Nov-2025 00:23
...насчёт реальности и современности суjдв, чьи лайнз тут приведены, явный "загиб"....
0
Reply
Abyrax   04-Nov-2025 10:04
Poluhohol, инфу для современных судов лучше брать с англ книг
0
Reply
refresh list

Similar releases

Технология судостроения. Организация судостроительного производства - Власов С.В. [2023, PDF]
English for Shipbuilders. Английский язык для студентов-кораблестроителей - Дьяченко И.И. [2015,…
Комплекс проектировочных расчётов на примере проекта балкера - Герман А.П., Клименюк И.В., Молоков…
Технология судостроения. Оценка затрат в блочном методе постройки корпусов морских объектов -…
Судовые вспомогательные котельные установки - Локтев А.В. [2023, PDF]
Технология судостроения. Сооружения для подъема и спуска судов при постройке и ремонте - Антоненко…
Технология судостроения. Технология судостроительных материалов - Власов С.В. [2023, PDF]
Английский язык для кораблестроителей ч.1 Бакалавриат - Першина Ю.И. [2014, PDF]
Английский язык для кораблестроителей ч.2 - Першина Ю.И. [2014, PDF]
Автоматизация судовых энергетических установок - А.А. Равин, М.А. Максимова, О.И. Иванчик [2022,…
LOAD MORE
  • Reply

The time now is: Today 05:58

All times are GMT + 3 Hours