Loliboss ®   13-Mar-2020 00:34

Учебное пособие по изучению электроприводов судовых устройств


Год выпуска: 2015
Язык: русский
Автор: Футин В.П.
Формат: PDF
Качество: Распознанный текст без ошибок (OCR)
Количество страниц: 44
Описание: Учебное пособие по изучению электроприводов судовых устройств.

Содержание

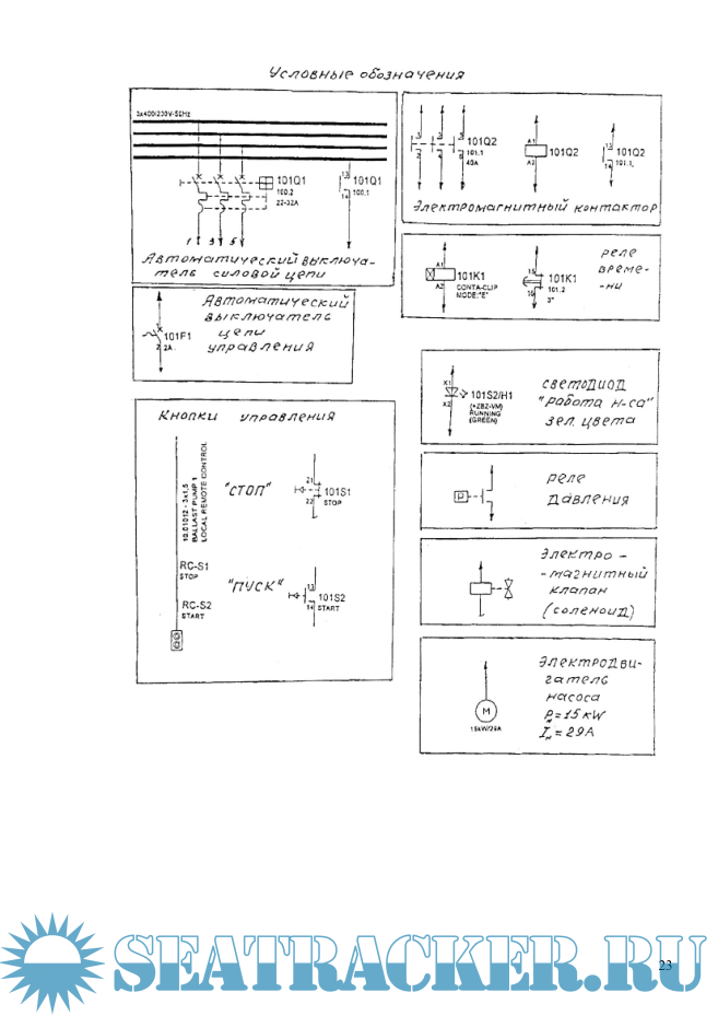
1. Условные обозначения
2. Валоповоротное устройство
3. Топливоподкачивающий насос
3.1. Пополнение сервисного танка
4. Шламовый насос
5. Балластный насос
6. Стояночный насос горячей воды главного двигателя
7. Масляный насос главного двигателя
8. Резервный масляный насос редуктора главного
двигателя
9. Вентилятор системы кондиционирования
10. Вентилятор трюмный
11. Вентилятор машинного отделения(2-х скоростной)

Скриншоты

Футин. Учебное пособие по изучению электроприводов судовых устройств.pdf

Download [5 KB]

Thank U
Reply
refresh list

Similar releases

Рулевые приводы - Футин В.П. [2012, PDF]
Устройство и эксплуатация электрооборудования морских судов - Будяков Н.М. [1980, PDF]
Эксплуатация систем дистанционного управления двигательными установками, системами и службами…
Теория и устройство судна - Щербатых В.В. [2020, PDF]
С пусковой пробки ресивера выходит много воды. Подскажите причину и способы устранения.
Электро-энергетические системы морских судов - Л.Сергиенко, В. В. Миронов [1991, PDF]
Судовая электроника и электроавтоматика - Белоусов В. В., Волкогон В.А. [2008, DjVu]
Системы управления судовыми энергетическими процессами - Тимофеев Ю.К. [1994, PDF]
Судовые энергетические установки 1 ч. - Соболенко А.Н., Симашов Р.Р. [2015, PDF]
Справочник по судостроительному черчению - Матвеев В.Г. Борисенко В.Д. [1983, PDF]
LOAD MORE
  • Reply

The time now is: Today 11:22

All times are GMT + 3 Hours